Gepubliceerd op woensdag 7 juni 2017
IEF 16839
Rechtbank Den Haag ||
7 jun 2017
Rechtbank Den Haag 7 jun 2017, IEF 16839; ECLI:NL:RBDHA:2017:5959 (Boskalis tegen Dredging), https://ie-forum.nl/artikelen/nietigheidsvordering-van-boskalis-octrooi-paalwageninstallatie-afgewezen

Uitspraak ingezonden door Charlotte Garnitsch, TaylorWessing.

Nietigheidsvordering van Boskalis octrooi paalwageninstallatie afgewezen

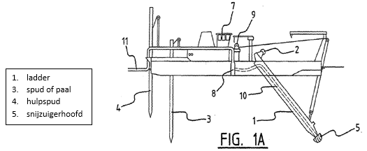
Rechtbank Den Haag 7 juni 2017, IE 16839; ECLI:NL:RBDHA:2017:5959 (Boskalis tegen Dredging) Intellectueel-eigendomsrecht. Boskalis vordert vernietiging van het Nederlandse deel van een Europees octrooi ingediend door Dredging betreffende een paalwageninstallatie van een baggerschip. Er is geen sprake van ongeoorloofde toegevoegde materie, geen uitbreiding van de beschermingsomvang en wel sprake van inventiviteit. De nietigheidsvordering van Boskalis wordt daarom afgewezen.

4.19. Met betrekking tot de door Boskalis als (i), (ii) en (iii) aangeduide ‘kenmerken’ (zie 3.2.1) geldt dat gesteld noch gebleken is dat deze een structureel of functioneel verband vormen met de wel opgenomen kenmerken. Verder heeft (de octrooigemachtigde van) Boskalis ter zitting met betrekking tot de door haar als kenmerk (i) aangeduide passage te kennen gegeven dat een accumulator aan de bovenzijde van een hydraulische cilinder niet werkt. De vakman zal aldus bij lezing van de conclusie impliciet, op basis van zijn algemene vakkennis, begrijpen dat een accumulator aan de onderzijde van de hydraulische cilinder moet worden aangesloten. Het ‘weglaten’ van deze passage – die ook in de oorspronkelijke conclusie niet voorkwam – vormt derhalve geen ongeoorloofde uitbreiding van materie. Verder is het zo dat, nadat Dredging had betwist dat sprake is van het weglaten van kenmerk (ii), omdat dit een kennelijke verschrijving betreft en voor de vakman direct duidelijk is dat met ‘main cylinder’ de hydraulische cilinder bedoeld wordt, Boskalis haar stelling niet nader heeft onderbouwd. Vaststaat derhalve dat de vakman ook hierdoor niet met nieuwe informatie geconfronteerd wordt. Hetzelfde geldt voor het weglaten van de laatste twee zinnen van [0008], door Boskalis omschreven als kenmerk (iii). De rechtbank is met Dredging van oordeel dat deze passage geen functioneel technisch kenmerk vormt van de uitvinding, maar een beschrijving van wat er feitelijk gebeurt wanneer een voorwaartse kracht op de spud werkt (“If the force on the spud is acting in a forward direction”). Naar Dredging onbetwist heeft aangevoerd, zullen de gevolgen in omgekeerde richting optreden, wanneer de kracht op de spud in achterwaartse richting werkt. Weglaten van dit gevolg vormt voor de vakman evenmin nieuwe informatie.
    4.20. Bij geen van de door Boskalis aangevoerde en niet in conclusie 1 van EP 849 B2 opgenomen passages uit de aanvrage is derhalve sprake van het weggelaten van technische kenmerken die een onlosmakelijk geheel vormen met de in paragraaf [0008] geopenbaarde preferred embodiment. Van ongeoorloofde toegevoegde materie is dan ook geen sprake. Aan het in dit verband ingediende hulpverzoek 1 wordt daarom niet toegekomen.

4.26. Een strikte uitleg van de term limiting in conclusie 1 van de B1 tekst ligt bovendien niet voor de hand, omdat in dat geval de uitvinding technisch gezien niet kan werken. Ook lezing met een ‘mind willing to understand’ brengt mee dat de term limiting in de oorspronkelijke conclusie 1 ruim moet worden uitgelegd. In die zin ook de TKB, wanneer zij de conclusie interpreteert in samenhang met conclusie 3 van het octrooi zoals verleend. Weliswaar kwam zij aanvankelijk tijdens de zitting, op basis van een zuiver tekstuele uitleg van conclusie 1, tot een engere betekenis van limiting, maar dit is achterhaald door hetgeen zij daarover vervolgens in de uitspraak heeft overwogen. Voor zover Boskalis ter zitting nog heeft aangevoerd dat ‘slightly’ (als in: een klein stukje) nog altijd wat anders is dan ‘slowly’ mist die stelling feitelijke grondslag. Het woord ‘slightly’ komt in de B1 tekst niet voor.
    4.27. De slotsom van het voorgaande is dat ‘limiting’ in de oorspronkelijke conclusie 1 dezelfde betekenis heeft als in de in stand gelaten conclusie 1, zodat geen sprake is van uitbreiding van de beschermingsomvang.

4.38. Anders dan Boskalis betoogt, bevat Dekker geen pointers die op deze oplossing duiden. Weliswaar is in Dekker beschreven dat de veerstijfheid van de draden gemodificeerd kan worden door het toevoegen van een gasveer, maar deze gasveer werkt, zoals onder meer uit (de 4e gestippelde lijn van rechts in) figuur 3.6 van Dekker blijkt, vanaf de Fpre-tens in de flex mode (wanneer de verbinding met de gasveer of accumulator open staat). Dekker beschrijft een hydraulische methode om de veerkracht van het systeem uit te breiden in het Werkbaar Traject, maar nergens verwijst zij naar een oplossing waarbij de veerkracht automatisch en reversibel wordt begrensd in de Overloadsituatie vanaf een waarde Fmax die boven de voorspanning (Fpre-tens) ligt. De uitvinding ziet niet op het als het ware in serie schakelen van de (draad)veer met een aan de hydraulische spancilinder gekoppelde accumulator, zoals geopenbaard in Dekker, maar op het toevoegen van een piston accumulator die pas bij een vooraf ingestelde hogere kracht automatisch in werking treedt, waardoor minder risico bestaat op schade en de werkbaarheid van het systeem wordt vergroot. Het betoog van Boskalis dat de geboden oplossing voor een hydraulisch expert voor de hand lag, is gebaseerd op het onjuiste uitgangspunt dat Fpre-tens en Fmax hetzelfde zijn. Waarom de vakman de oplossing voor het objectieve technische probleem toch (enkel) zal zoeken in de verbetering van de hydrauliek (en niet, zoals de TKB heeft overwogen, in het aanpassen van het schip of de spud of voor het kiezen voor een andere installatie) heeft Boskalis niet nader toegelicht.
    4.39. Gesteld noch gebleken is voorts dat de publicatie WODCON, waarop Boskalis zich nog beroept, iets toevoegt aan hetgeen reeds door Dekker wordt geopenbaard. De overige verweren van Boskalis behoeven geen behandeling nu deze uitgaan van een ander objectief probleem.
    4.40. Het voorgaande leidt tot de conclusie dat de inventiviteitsaanval van Boskalis op conclusie 1 van EP 849 B2 niet slaagt. Aan het door Dredging in verband met de inventiviteit ingediende, beperkende, tweede hulpverzoek wordt gelet daarop niet toegekomen. Inventiviteit van conclusie 1 brengt mee dat de volgconclusies 2-8 eveneens inventief zijn.